一、可变容量斜盘式压缩机
背景技术:
可变容量斜盘式压缩机设有使排出室与曲柄室连通的供气通路和使曲柄室与吸入室连通的抽气通路,而且在供气通路配设控制阀,利用控制阀调节从排出室流入曲柄室的工作流体量,从而控制曲柄室内的压力。由此变更相对于斜盘的轴的倾斜角,控制排出量。另外由于在经由供气通路流入的工作流体中混合存在油,因此通过向曲柄室供给工作流体,从而向曲柄室供给油。
此时作为进入曲柄室内的流体,有从排出室供给的供气气体和从缸膛与活塞之间的间隙进入的漏气。另外作为从曲柄室出来的流体,有经由抽气通路向形成于后壳体的吸入室出来的抽气气体。因而通过这些流体的流动,曲柄室内的油量根据运转条件而变动。然而若曲柄室内的油量较少,则斜盘等滑动部的润滑变得不充分,有可能损害可靠性。因此以往为了不从曲柄室带出油,即为了将油保持在曲柄室内,研究了使曲柄室内具有分离油的功能的方法。
在相关专利所示的活塞型压缩机中,在轴上形成抽气孔,抽气孔形成用于使流入曲柄室的工作流体向吸入室排出的抽气通路的一部分,利用从轴的后端朝向前端侧沿轴心设置轴向通路和与轴向通路连通且向曲柄室开放而构成抽气通路的入口部的径向通路构成的形成于轴的抽气孔,通过由轴的旋转产生的离心力,从自径向通路吸入的工作流体中分离油。
为此,法雷奥提供了一种可变容量斜盘式压缩机,通过设置曲柄室与吸入室始终连通的第一抽气通路和第二抽气通路,使第一抽气通路至少经由由形成于缸体的中央的插入轴的中央孔内的轴的插入端部划分的空间连通于曲柄室,使第二抽气通路在与缸体的斜盘相对的端面开口,能够确保润滑油向滑动部的供给,并且相对于制冷回路的运转状态的变化将适当的润滑油量存储于曲柄室,抑制润滑油向制冷回路过度的排出。
压缩机的组成:
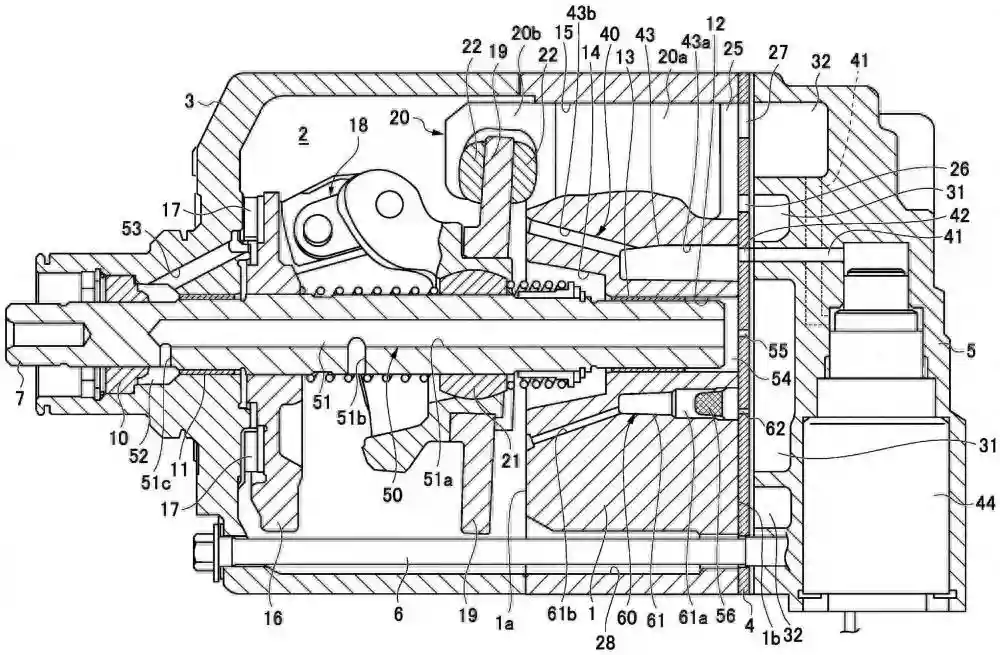
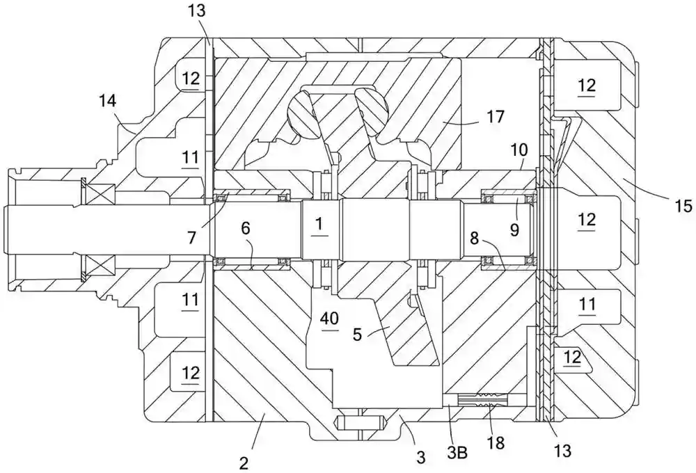
可变容量斜盘式压缩机包括缸体、以覆盖缸体的前侧的方式组装且在与缸体之间划分曲柄室的前壳体以及经由阀板组装在缸体的后侧的后壳体,前壳体、缸体、阀板和后壳体通过紧固螺栓沿轴向紧固。

1、缸体,2、曲柄室,3-5、前-后壳体,4、阀板,6、紧固螺栓,7、轴,10、密封部件,11-13、径向轴承。

1、缸体,12、中央孔,13、径向轴承,14、凹部,15、缸膛。
在缸体以向曲柄室开口的方式设有凹部,凹部开设有收容径向轴承的中央孔。多个缸膛在以中央孔为中心的圆周上等间隔地配置,各个缸膛形成为沿轴向贯通缸体,在各个缸膛中能够往复滑动地插入有活塞。

16、推力凸缘,17、推力轴承,18、连杆部件,19、斜盘,20、活塞,20a-20b、头部-卡合部,21、铰链球。
活塞通过插入于缸膛内的头部和向曲柄室突出的卡合部沿轴向接合而构成,使卡合部经由一对滑履卡定在斜盘的周缘部分。因而若轴旋转,则斜盘随其旋转,斜盘的旋转运动经由滑履转换为活塞的往复直线运动,在缸膛内在活塞与阀板之间划分的压缩室的容积被变更。

22、滑履,25、压缩室,26-27、吸入-排出孔,31-32、吸入-排出室,44、压力控制阀。
在后壳体形成有吸入室与在吸入室的外侧形成的排出室,在阀板形成有经由吸入阀连通吸入室与压缩室的吸入孔以及经由排出阀连通排出室与压缩室的排出孔。由形成于后壳体、阀板以及缸体的通路形成了将排出室与曲柄室连通的供气通路,在后壳体配置有在供气通路的中途设置的压力控制阀。在压力控制阀的内部设有阀机构,通过调节阀机构的开度,调节通过供气通路从排出室流入曲柄室的制冷剂流量,控制曲柄室的压力。

1a、曲柄室侧的端面,1b、阀板侧的端面,40、供气通路,41-43、缸体的通路,43a、轴孔,43b、斜孔。
在轴上设有流体排出通路,流体排出通路包括在轴的轴心上从后端朝向前端形成至中程的有限长度的轴孔、曲柄室侧孔以及轴密封室侧孔,曲柄室侧孔连通于轴孔并沿径向延伸,向曲柄室开口。轴密封室侧孔连通于轴孔且沿径向延伸,向收容密封部件的轴密封室开口。轴密封室在其上方经由贯穿设置于前壳体的连通孔连通于曲柄室,沿着前壳体的内壁面流下的油的一部分经由连通孔被引导至轴密封室。

51、流体排出通路,51a、轴孔,51b-51c、曲柄室-轴密封室侧孔,52、轴密封室,53、连通孔。
轴的后端与阀板之间的空间称作中央孔空间,中央孔空间经由形成于阀板的节流孔连通于吸入室。利用流体排出通路、中央孔空间以及节流孔形成了始终连通曲柄室与吸入室的第一抽气通路,第一抽气通路的曲柄室侧孔具有通过由轴的旋转产生的离心力从此流入的工作流体中分离油的功能,主要具有使油的含量较少的工作流体流入的功能。另外轴密封室侧孔具有将过度的积存在轴密封室中的油吸入并排出的功能。

50-60、第一、二抽气通路,54、中央孔空间,55-62、节流孔,56、过滤器,61、通路。
除了第一抽气通路之外,还形成有始终连通曲柄室吸入室的第二抽气通路,第二抽气通路构成为具有形成于缸体的通路和连通于通路且形成于阀板的节流孔。通路包括第二抽气通路用轴孔以及第二抽气通路用斜孔,第二抽气通路用轴孔从缸体的阀板侧的端面与中央孔大致平行地形成,可拆装地插入有过滤器。第二抽气通路用斜孔从缸体的曲柄室侧的端面通过相邻的缸膛的狭窄处地朝向后侧贯穿设置,且与第二抽气通路用轴孔连通。

1a、曲柄室侧的端面,1b、阀板侧的端面,28、螺栓孔,61a-61b、第二抽气通路用轴孔-斜孔。
轴通过向驱动带轮赋予的旋转动力旋转则斜盘旋转,斜盘的旋转运动经由滑履转换为活塞的往复直线运动,活塞开始在缸膛内往复运动。通过活塞的往复运动,变更在缸膛内形成于活塞与阀板之间的压缩室的容积,进行工作流体的吸入、压缩、排出的各工序。即在吸入行程时,活塞移动以增加压缩室的容积,工作流体经由由吸入阀开闭的吸入孔而从吸入室吸引到压缩室。在压缩行程时,活塞移动以减少压缩室的容积,经由由排出阀开闭的排出孔,被压缩的工作流体从压缩室排出到排出室。
压缩机的排出量由活塞的行程决定,行程由施加在活塞的前面的压力,即压缩室的压力和施加在活塞的背面的压力,即曲柄室内的压力的差压决定。若提高曲柄室内的压力,则压缩室与曲柄室的差压变小,因此斜盘的倾斜角度变小,因此活塞的行程变小,排出容量变小;若降低曲柄室的压力,则压缩室与曲柄室的差压变大,因此斜盘的倾斜角度变大,因此活塞的行程变大而排出容量变大。
在车辆加速等高旋转时,为了减小压缩机的动力负载,利用压力控制阀增加经由供气通路从排出室向曲柄室供给的制冷剂气体量,提高曲柄室压力。因而斜盘的摆动角变小,排出量变少。此时由于轴的旋转较快,因此流体排出通路的油分离功能变大,油容易积存于曲柄室。此时曲柄室内的油被摆动旋转的斜盘搅拌,混入曲柄室内部的制冷剂成为雾状。油与制冷剂混合存在的雾状的工作流体通过斜盘的旋转在曲柄室内旋转,因此通过离心分离作用,曲柄室的半径方向外侧区域的工作流体的油成分浓,曲柄室的半径方向内侧区域的工作流体的油成分稀。
第一抽气通路经由缸体的中央孔的中央孔空间连通于曲柄室,因此能够稳定地排出曲柄室内的油浓度较低的工作流体。并且流入中央孔空间的工作流体在从曲柄室侧孔导入时,能够通过离心分离作用使油浓度进一步变稀。根据这种构成,容易在曲柄室中积存油。但是由于第二抽气通路在面对与缸体的斜盘相对的曲柄室的端面开口,因此通过曲柄室与吸入室的压力差,能够排出油成分相对较浓的工作流体。由此通过斜盘的搅拌而产生的雾状的油被排出,不会有过度的油积存于曲柄室,能够抑制油搅拌引起的油温度的上升。流入螺栓孔的半径方向外侧的油几乎不被斜盘搅拌而是停留,不会雾化,因此不会从第二抽气通路排出。因此无论运转条件如何都不会出现曲柄室内的油过度减少的不良情况。
另外供气通路的曲柄室侧的开口位于缸体的曲柄室侧的端面中的比缸体的相邻的缸膛间的距离变得最短的部位靠径向内侧,另外第二抽气通路的曲柄室侧的开口位于与缸体的斜盘相对的端面中的前述的三角区域。因此从供气通路朝向斜盘喷出混有油的工作流体,将斜盘的滑动面润滑。润滑了斜盘的工作流体伴随着斜盘的旋转而旋转,通过离心作用,工作流体中的油欲向径向外侧移动,但若不通过插入到缸膛的活塞之间,则不能向径向外侧移动。因此工作流体中的油一边与邻接的活塞碰撞等而减弱旋转,一边沿着缸体的三角区域在相邻的活塞之间移动,由此工作流体的油容易通过第二抽气通路的前方。特别是在该例子中,第二抽气通路的曲柄室侧的开口在重力方向位于第一抽气通路的下方,因此通过斜盘的旋转而被吹向径向外侧的工作流体中的油在重力的作用下更容易通过第二抽气通路的前方。工作流体中的油在通过第二抽气通路的前方时被第二抽气通路吸引,排出到吸入室。即从第二抽气通路主要排出用于斜盘的润滑之后的包含油的工作流体。
相对于供气通路的曲柄室侧的开口,第二抽气通路的曲柄室侧的开口位于相对于斜盘的旋转方向离开一百八十度以上的相位。因此从供气通路返回到曲柄室的工作流体中的油不会有在将斜盘润滑之前从第二抽气通路吸出的隐患,没有损害斜盘的润滑的隐患。
综上所述:通过使供气通路与斜盘相对而开口,能够确保斜盘的充分的润滑。另外能够将用于斜盘的润滑之后的雾化的油从第二抽气通路排出而防止过度的油积存于曲柄室。而且通过斜盘的搅拌,使未雾化的油停留在曲柄室内而不从第二抽气通路排出。通过以上能够避免曲柄室内的油因运转条件而枯竭的不良情况,能够始终将适度的油量保持于曲柄室。而且分别设有第一抽气通路的节流孔与第二抽气通路的节流孔,因此能够通过调节各节流孔的大小而独立地调节经由流体排出通路引导到吸入室的抽气气体的量与经由第二抽气通路引导到吸入室的油的量。由此本压缩机能够分开地调节抽气气体的量、油的排出量以获得希望的特性。
总结:
法雷奥可变容量斜盘式压缩机通过设置曲柄室与吸入室始终连通的第一抽气通路和第二抽气通路,使第一抽气通路至少经由由形成于缸体的中央的插入轴的中央孔内的轴的插入端部划分的空间连通于曲柄室,使第二抽气通路在与缸体的斜盘相对的端面开口,能够确保润滑油向滑动部的供给,并且相对于制冷回路的运转状态的变化将适当的润滑油量存储于曲柄室,抑制润滑油向制冷回路过度的排出。
二、带回油机构的斜盘式压缩机
背景技术:
压缩机工作时,运动部件与静止部件之间剧烈摩擦,容易摩损和产生噪音。因而在压缩机中充注润滑油,运动件及缸体内的气流会搅动润滑油,形成一些油雾,当这些油雾飞散到运动件上时,运动件得到一定的润滑。然而由于润滑油跟随气流向排气的方向流动,不少润滑油进入并滞留在排气腔,无法返回到斜盘腔提供运动件的润滑,导致润滑不充分。
为此,华域三电实用专利提供了一种新型的带回油机构的斜盘式压缩机,压缩机具有沿轴向组合在一起的缸体,缸体有多个气缸,气缸中设有活塞,活塞往复运动以进行吸入和压缩制冷气体,压缩后的制冷气体进入排气腔。压缩机有一个润滑油通道,连接排气腔与斜盘腔,润滑油通道的一端靠近排气腔的底部,另一端靠近斜盘腔的底部。新型带回油机构的斜盘式压缩机使滞留在排气腔的润滑油返回斜盘腔,改善了润滑。
斜盘式压缩机的组成:
带回油机构的斜盘式压缩机包括缸体、斜盘腔、缸盖、活塞、驱动轴、斜盘和润滑油通道。前缸体与后缸体统称为缸体,螺栓将前缸体和后缸体连接紧固,形成斜盘腔,斜盘腔旋转的设在缸体中。缸体内部确定了沿轴向延伸并穿过它们的中央孔,有多个围绕着此中央孔排列的轴向气缸。

1、驱动轴,2-3、前-后缸体,40、斜盘腔,5、斜盘,6-8、中央孔,7-9、轴承,10、气缸。
斜盘设在斜盘腔内,并装在驱动轴上,以便与驱动轴一起旋转,并带动安装在其周围的多个活塞,压缩气缸中的气体。驱动轴贯穿斜盘,驱动轴的前端由前缸体的中央孔中的轴承支撑,后端由后缸体的中央孔中的轴承支撑。驱动轴带动斜盘作旋转运动时,斜盘上的多个活塞作往复运动,将制冷剂吸入气缸,再将制冷剂压缩后排出气缸。多个活塞可滑动的装在气缸中,驱动轴可旋转的装在缸体的中央孔中。缸体和缸盖之间设置有控制吸气和排气的阀板部件。缸盖设在缸体的端部,缸盖中划分出制冷气体的吸气腔、压缩后的制冷气体的排气腔,前、后缸盖分别设有吸气腔和排气腔,前、后缸体与前、后缸盖之间夹装阀板部件。

11、排气腔,12、吸气腔,13、阀板部件,14-15、前-后缸盖,17、活塞,3B、长孔,18、节流管。
润滑油通道连接排气腔与斜盘腔,润滑油通道的一端靠近排气腔的底部,另一端靠近斜盘腔的底部。部分润滑油随制冷剂气体排出至排气腔,并在重力作用下落至并滞留在排气腔底部,设置一条润滑油通道,将这些润滑油引至斜盘腔底部,通道一端设在靠近排气腔底部的位置,另一端设置在靠近斜盘腔底部或者靠近缸体底部的位置。
阀板部件包括轴向依次排放的气缸垫、吸气阀片、阀板、排气阀片和缸盖垫,吸气阀片在气缸吸入气体时打开,此时对应的排气阀片关闭,反之气缸排出气体时,排气阀片打开,对应的吸气阀片关闭。

131、气缸垫,132、吸气阀片,133、阀板,134、排气阀片,135、缸盖垫,131A-135A、通孔,3A、槽。
润滑油通道由贯穿阀板部件的通孔以及缸体上的槽贯通而成,通孔靠近排气腔的底部,而槽的上端与通孔相连,下端靠近缸体的底部。缸体靠下位置设有长孔,使槽与斜盘腔贯通。滞留在排气腔底部的润滑油,受高压及重力作用,按图中的箭头方向,依次经过通孔,再经过槽及长孔,进入斜盘腔。为了减少润滑油存积,在长孔内安装节流管。
综上所述:通过在排气腔与斜盘腔的适合位置,并通过对在阀板部件、缸盖、缸体开设孔或槽形成润滑油通道,将滞留在排气腔中的润滑油,通过排气腔的高压作用,引回到斜盘腔提供润滑。
总结:
华域三电新型带回油机构的斜盘式压缩机具有沿轴向组合在一起的缸体,缸体有多个气缸,气缸中设有活塞,活塞往复运动以进行吸入和压缩制冷气体,压缩后的制冷气体进入排气腔。压缩机有一个润滑油通道,连接排气腔与斜盘腔,润滑油通道的一端靠近排气腔的底部,另一端靠近斜盘腔的底部。新型带回油机构的斜盘式压缩机使滞留在排气腔的润滑油返回斜盘腔,改善了润滑。
三、电磁离合器
背景技术:
空调压缩机中的电磁离合器包括转子、毂、电枢板和励磁线圈。转子经由轴承可旋转的从外部装配在壳体的支撑驱动轴的圆柱形部分的外周边上,并且转子通过接收来自例如发动机或马达等旋转动力源的旋转力而旋转。毂联接至驱动轴以便不能相对于驱动轴旋转而与驱动轴一起旋转。电枢板联接至毂并且被设置成面向转子的侧端部表面,同时两者之间具有微小空隙。励磁线圈容纳在转子的环形空间的内部中。
当电磁离合器暴露于水时,水会进入用于使转子平滑旋转的轴承,从而轴承的内部可能生锈。另一方面,在电磁离合器中,因为转子和电枢板彼此摩擦接合,所以从转子和电枢板的摩擦表面产生磨损粉末。为了防止磨损粉末在电磁离合器中积聚而引起与离合器的操作有关的问题,需要提供一种用于在电磁离合器的电枢板的整个前侧端部表面被盖件覆盖时将磨损粉末从电磁离合器的内部排出至外部的配置。
为了解决上述问题,法雷奥发明专利提供了一种电磁离合器,覆盖电枢板的前侧端部表面的盖件包括顶表面部分以及圆柱形部分,顶表面部分被设置成面向电枢板的前侧端部表面。圆柱形部分从顶表面部分延伸。异物排出部分形成为朝向圆柱形部分的外部突出,并且异物排出部分包括面向电枢板的侧周边表面侧的开口、面向压缩机的后侧的开口以及与这些开口连通的内部空间。即使在覆盖电枢板的前侧端部表面的盖件设置有将磨损粉末等异物排出至外部的异物排出部分时,该电磁离合器也能够在盖件被附接时防止水从异物排出部分进入电磁离合器。
压缩机的组成:
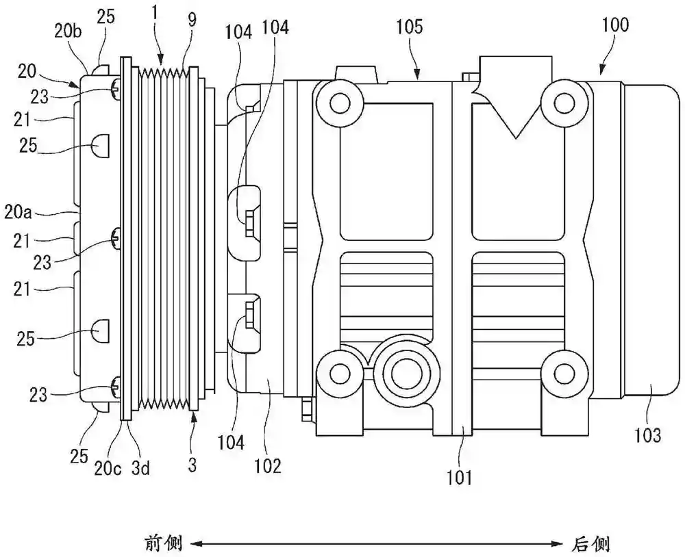
压缩机包括缸体、经由阀板组装至缸体的前侧的前缸盖以及经由阀板组装至缸体的后侧的后缸盖,缸体、前缸盖和后缸盖由紧固螺栓沿着其轴向方向紧固,以形成压缩机的壳体。

100、压缩机,101、缸体,102、前缸盖,103、后缸盖,104、紧固螺栓,105、壳体。
在壳体的缸体中限定了多个缸膛和曲柄室,穿过曲柄室的驱动轴可旋转的支撑在缸体中,使得设置在曲柄室中的斜盘通过驱动轴的旋转而旋转,以使双头活塞在每个缸膛中往复运动。电磁离合器附接至驱动轴的一个端部,电磁离合器用于中断从发动机或马达等旋转动力源传递至压缩机的旋转力。

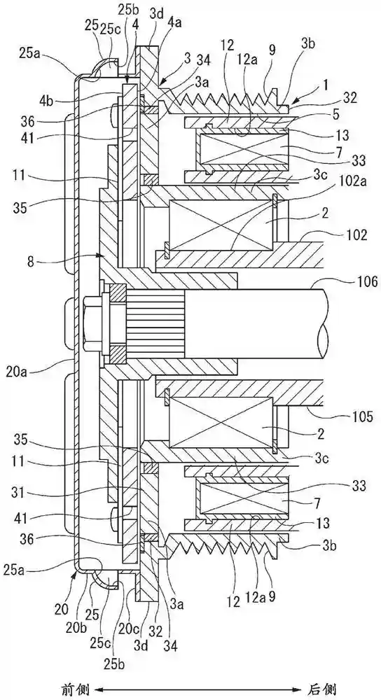
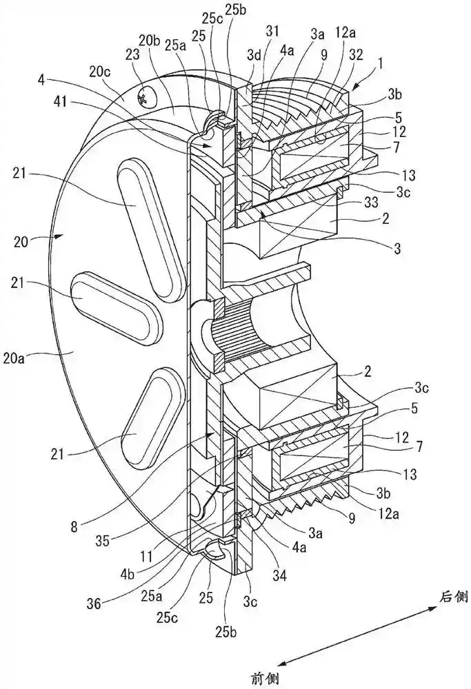
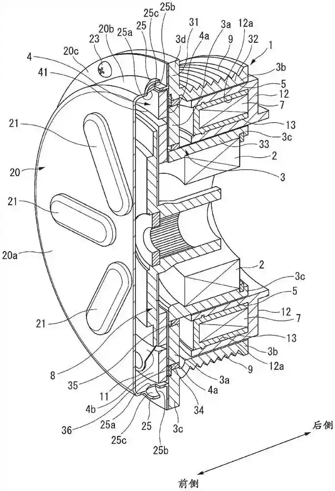
102a、圆柱形部分,106、驱动轴,1、电磁离合器,2、轴承,3、转子,4、电枢板,7、励磁线圈,8、毂。
电磁离合器的组成:
电磁离合器包括转子、毂、电枢板和励磁线圈。转子在其内周边设置有轴承,转子经由轴承可旋转的安装在圆柱形部分的外周边上,圆柱形部分从压缩机的前缸盖延伸,以允许驱动轴通过圆柱形部分插入。毂联接至压缩机的驱动轴以便不能相对于驱动轴旋转而与驱动轴一起旋转。电枢板被设置成面向转子同时两者之间在轴向方向上具有微小空隙,并且电枢板固定至毂。励磁线圈由压缩机的壳体支撑,容纳在转子的内部,并且在电枢板与转子之间产生电磁吸引力。线圈外壳由环形铁容器形成,线圈外壳附接至压缩机的前缸盖。线圈外壳具有一端敞开的环形槽,环形槽填充有环氧树脂材料以固定励磁线圈。

11、板簧机构,12、线圈外壳,12a、环形槽,13、环氧树脂材料,20、防水盖件,23、固定装置。
在背离转子的方向上促动电枢板的板簧机构,被用作在毂与电枢板之间,防止在励磁线圈没有被通电时电枢板与转子发生接触的机构。转子在与压缩机相反的一侧具有摩擦壁,并且摩擦壁的前侧端部表面以平坦形状形成,基本上垂直于转子的轴向中心并且具有面向电枢板的摩擦表面。为了防止轴承由于电磁离合器暴露于来自前侧的水而生锈,转子在外周边壁构成构件上设置有进一步突出至相对于外周边壁的外周边侧的凸缘状突出壁,并且防水盖件主要附接至突出壁的前侧。在转子的突出壁中,形成有六个螺钉孔,固定装置比如螺钉通过这些螺钉孔插入。

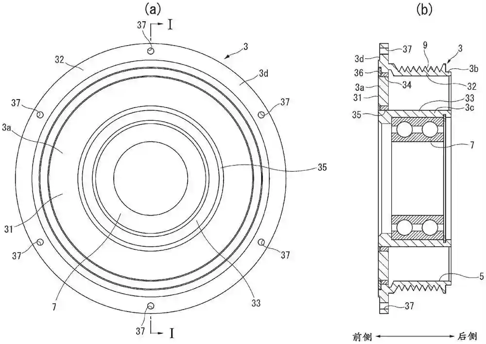
3、转子,3a、摩擦壁,3b-3c、外-内周边壁,3d、突出壁,37、螺钉孔。
转子包括环状摩擦壁构成构件、环状外周边壁构成构件、环状内周边壁构成构件、环状外非磁性体以及环状内非磁性体。摩擦壁构成构件具有摩擦壁,外周边壁构成构件相对于摩擦壁构成构件设置在外周边侧并且具有朝向后侧侧向的延伸的外周边壁,内周边壁构成构件相对于摩擦壁构成构件设置在内周边侧并且具有朝向后侧侧向地延伸的内周边壁,外非磁性体将摩擦壁构成构件与外周边壁构成构件连接。内非磁性体将摩擦壁构成构件与内周边壁构成构件连接,构成构件由铁基磁性材料制成,非磁性体由金属铜制成。

31、摩擦壁构成构件,32-33、外-内周边壁构成构件,34-35、外-内非磁性体,36、摩擦构件,5、环形空间。
非磁性体以同心形状形成,围绕转子的中心轴线以预定间隔设置,使得其中一个非磁性体位于外侧,而另一个非磁性体位于内侧。薄的摩擦构件设置在外非磁性体的前侧,摩擦构件的前侧端部表面是平坦的,并且与摩擦壁的摩擦表面位于同一平面上。内非磁性体的前侧端部表面位于从摩擦壁的摩擦表面和外周边壁构成构件的前侧端部表面凹入的位置处,使得在转子的摩擦壁构成构件与外周边壁构成构件之间形成的阶梯状部分。
轴承固定至构成转子的内周边壁构成构件的内周边壁的内周边侧,后侧敞开的环形空间形成在外周边壁构成构件的外周边壁与内周边壁构成构件的内周边壁之间,并且环形空间经由预定间隙容纳线圈外壳,线圈外壳容纳励磁线圈。转子可沿着励磁线圈也即线圈外壳旋转,而不与线圈外壳滑动接触。包括多个微形槽的带槽缠绕在形成在外周边壁构成构件的外周边壁的外周边侧中,带槽用于传递来自旋转动力源的旋转力的带。
电枢板以盘形状形成联接至板簧机构,并且具有后侧端部表面,后侧端部表面被设置成面向转子的摩擦壁的摩擦表面同时在两者之间具有微小空隙。后侧端部表面以平坦形状形成,垂直于转子的轴向中心,并且形成面向转子的摩擦壁的摩擦表面等的摩擦表面。在电枢板中,多个弧形狭缝孔形成为屏蔽通过励磁线圈通电而产生的磁的磁屏蔽部分。这些狭缝孔在驱动轴的轴向方向上穿透电枢板,并且因此沿着以电枢板的中心轴线为中心的圆的圆周设置。

4、电枢板,4a、后侧端部表面,4b、前侧端部表面,41、弧形狭缝孔,9、带槽。
附接至转子的盖件上包括顶表面部分、圆柱形部分以及凸缘,顶表面部分的内周边表面面向电枢板的侧端部表面和毂的侧端部表面,圆柱形部分从顶表面部分的周边边缘朝向后侧延伸。凸缘在延伸方向上从圆柱形部分的端部向外突出,并且盖件覆盖电枢板的整个前侧端部表面和侧周边表面。在盖件的顶表面部分的内表面与电枢板的侧端部表面和毂的侧端部表面之间,以及在盖件的圆柱形部分的内周边表面与电枢板的外周边表面之间形成具有预定宽度的间隔,以免使盖件在盖件与转子同步旋转时与电枢板和毂接触。

20、盖件,20a、顶表面部分,20b、圆柱形部分,20c、凸缘,21、凸出部分,22、通孔,25、异物排出部分。
盖件的顶表面部分形成有五个凸出部分,凸出部分以基本上椭圆形形状从顶表面的端部表面朝向前侧凸出。凸出部分从盖件的顶表面部分的中心朝向外周边径向地延伸,并且凸出部分之间的间隔是均匀的。通过在盖件的顶表面部分上形成凸出部分,提高了顶表面部分的刚度,而且防止了从顶表面部分产生异常噪声。在凸缘中形成有六个通孔,固定装置通过这些通孔插入,这些通孔与转子的螺钉孔位于同一轴线上并且在凸出部分的延伸方向上。
另外作为用于将由于电枢板与转子之间的摩擦联接而产生的磨损粉末排出至电磁离合器的外部的配置,六个异物排出部分形成在盖件上。从有助于盖件的形成的角度,异物排出部分中的每个异物排出部分形成在相邻的凸出部分之间。形成在盖件的圆柱形部分上的六个异物排出部分以相等间隔设置,但异物排出部分的数量和布置不必受限于此。
异物排出部分中的每个异物排出部分形成为从盖件的圆柱形部分向外突出,并且包括通到在电枢板的侧端部表面的前侧的电枢板侧的开口、面向后侧的开口、以及与两个开口均连通的内部空间。在异物排出部分的开口与盖件的凸缘之间设置了足够的间隔,使得磨损粉末可以顺利地从开口排出。为了形成具有两个开口的内部空间,呈优形竖立的薄壁部分从形成在圆柱形部分中的开口的周边边缘挡住前侧并使后侧敞开,然后以覆盖开口的方式朝向后侧延伸,以提供如同檐的功能。

25a、电枢板侧的开口,25b、后侧的开口,25c、内部空间。
为了防止异物排出部分在固定装置从前侧插入处于抵靠转子的状态下的盖件的通孔中时成为障碍,异物排出部分和通孔被设置成在盖件的圆周方向上彼此偏移。通过在盖件的圆柱形部分上形成这样的异物排出部分,磨损粉末可以从异物排出部分中的每个异物排出部分的电枢板侧的开口被带入内部空间中,然后从后侧的开口排出。
因为环绕异物排出部分中的每个异物排出部分的内部空间的壁部分充当挡住内部空间的前侧的檐,所以即使电磁离合器暴露于来自前侧的水,也可以防止水从异物排出部分进入盖件和进一步进入电磁离合器。因为转子的磁屏蔽部分由环状非磁性体制成,所以可以防止比如磨损粉末等异物进入转子与线圈外壳之间的空间。尽管转子与盖件之间的空间被环绕,但因为异物排出部分形成在盖件上,所以异物不可能留在盖件内部。因为转子的磁屏蔽部分可以以环状形成,所以与转子的磁屏蔽部分由具有通孔形状的狭缝孔形成的情况相比,可以消除由于设置在狭缝孔之间的桥而出现磁泄漏的问题。
综上所述:本发明的覆盖电磁离合器的电枢板的前侧端部表面的盖件的异物排出部分形成在圆柱形部分的侧周边表面上。另外盖件的异物排出部分的两个开口分别面向电枢板的侧周边表面侧和压缩机的后侧。因此与异物排出部分形成在盖件的顶表面部分上的情况不同,即使从电磁离合器的前侧用水覆盖电磁离合器,也可以防止水从异物排出部分进入盖件和进一步进入电磁离合器而使轴承生锈。本发明还可以防止由于转子与电枢板之间的摩擦接合而产生的磨损粉末进入转子与线圈外壳之间的空间。
总结:
法雷奥电磁离合器覆盖电枢板的前侧端部表面的盖件包括顶表面部分以及圆柱形部分,顶表面部分被设置成面向电枢板的前侧端部表面。圆柱形部分从顶表面部分延伸。异物排出部分形成为朝向圆柱形部分的外部突出,并且异物排出部分包括面向电枢板的侧周边表面侧的开口、面向压缩机的后侧的开口以及与这些开口连通的内部空间。即使在覆盖电枢板的前侧端部表面的盖件设置有将磨损粉末等异物排出至外部的异物排出部分时,该电磁离合器也能够在盖件被附接时防止水从异物排出部分进入电磁离合器。